Join us for episode 62 of the Theme Park Trader podcast!

Here’s an overview of what we discuss on this weeks episode:

2017 Dates for Mickey’s Not-So-Scary Halloween Party and Mickey’s Very Merry Christmas Party!

We begin the podcast this week by chatting through our thoughts on the dates for the two major Magic Kingdom parties. You can read more on these dates in our blog post here.

Satu’li Canteen Menu at Pandora – The World of Avatar

With the opening of Pandora – The World of Avatar getting ever closer, Dan and I thought it would be good to discuss the quick service menu in a bit more detail. I chat through why I am interested to try the new restaurant while Dan says why he won’t be going.

You can read the full menu in our post here.

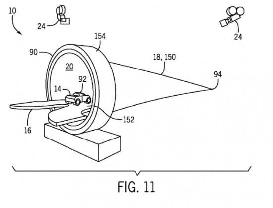
Does Universal’s New Patent Point Towards a Mario Kart Attraction

In our final piece of ‘news’ for this week, we chat through the below patent filed by Universal and discuss whether this could be the beginnings of a Mario Kart attraction at Universal Orlando.

Is Universal Express Pass Worth the Cost at Orlando?

Dan and I chat through Universal’s Express Pass at Universal Orlando and whether we think it is worth the cost or not. In this discussion we chat all of the options available including all of the attractions that can be ridden as part of the Express Pass.

Look out for our full Express Pass guide coming to the site soon!

Bad Reviews of Great Theme Park Restaurants – Le Cellier!

In our first ever bad reviews of great theme park restaurants, Dan and I talk through some of the worst reviews on both Trip Advisor and Google for Epcot restaurant, Le Cellier Steakhouse. As it is one of my favourite restaurants on property you can imagine some of my comments on these reviews get a bit… harsh.

If you enjoyed this weeks podcast, have ideas for future shows or have any questions about any of the stories then feel free to leave us a comment below!