Last month I discussed rumours that Disney were looking into the use of drone technology at Illuminations: Reflections of Earth, it would seem that rumour is getting closer to becoming a reality.
Last week Disney published a new patent that details how Disney would use drones to carry projection screens. The last patents files were related to light shows, this time it seems the patent is focussed exclusively on projection.
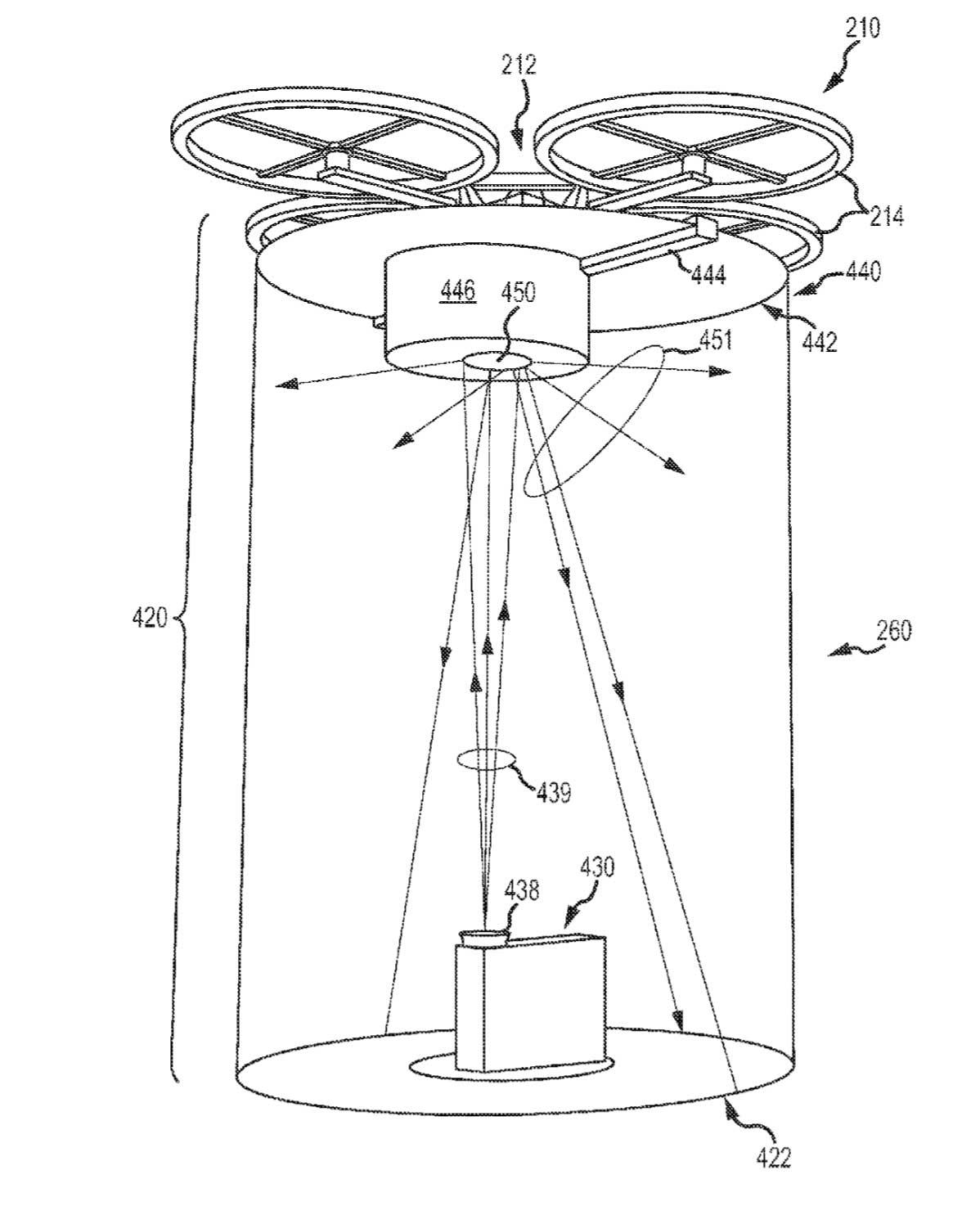
The patent describes the technology that would be used:
“The apparatus includes a projector projecting light and the projected light is directed onto the rear surface of the projection surface to generate a displayed image visible on the front surface. The projection screen can be formed from a mesh sheet with a porosity allowing air to flow through the projections screen.”
An image of how the technology works was also included:
While I have read a lot of reports from people saying they think the whole idea of using drone technology in the parks is ridiculous and a concern for guest safety, I completely disagree. Disney have always been at the forefront of technology use in the parks and I think this is only going to improve guest experiences of nighttime shows.
What do you think?
